由于待测样品的体积过大,常规的标准光源箱就难以满足用户颜色检测的需求,所以常常就会采用可以吊挂在看样室天花板的吊式标准光源箱,就为大家简单的介绍一下。

什么是吊式标准光源箱?
对于汽车或者其他大型的钣金加工车间,由于生产的样品体积较大,就不适合在常用的多光源标准光源箱中使用,因此,就需要定制建立颜色检测用到标准光源房。标准光源房就是将吊式标准光源箱吊挂在房间的看样室的天花板上。
生产中的颜色管理,品检员虽然已仔细地对比过货品的颜色,但因为环境光源不标准或与客商所使用的光源不一致,不同光线下所看到的颜色各异,货品色差判定不准确。客商验货时会因为色差超出标准范围而投诉,甚至退货,从而严重影响了公司商誉。
要有效解决上述问题,最有用的方法就是在检定货品的颜色时,必须在相同的光源及可控制的条件下进行。例如国际通用标准中常采用人工日光D65作为评定货品颜色的标准光源。
看样室天花板吊式标准光源箱技术参数:
悬挂方式:背后带吊钩,并配有承重钢丝绳,可直接吊挂于看样台或天花板
外形尺寸:130cm×73cm×12cm(长度)×(宽度)×(高度)
光照面积:130cm×93cm(幅长)×(幅宽)
灯管数量:透射36W×4(支)
带光源计时器-直射或斜射反光
框架材料:全新铝合金型材,坚固美观
进口反光板,光照均匀
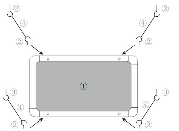
吊式标准光源箱安装方法:

1、根据直射或斜射的类型,确定好安装的位置;
2、在房顶上相应的位置分别安装③,确保安全固定;
3、把②分别旋装到①背面的铆装螺母内;
4、确认吊射高度,一般为①灯管距离观察台面110cm左右(+/-10cm);
5、根据高度确认好④钢丝绳长度,并做好套圈;
6、悬挂:钢丝绳一头套在②,另一头套在③上,确保水平稳固;
7、接上电源线,打开开关,使用标准光源。
吊式标准光源箱使用方法:
1、将电源线与看样台对接的一头插入看样台的电源插口,看样台电源插口在灯箱顶部,另一头接入市电电源(注意市电电源必须与看样台标示的输入电源相符)。
2、选择一种光源开关按下,对应的光源灯管点亮,同时看样台的计时器开始计时。若要切换光源,可以先把前面光源关掉,再按下需要点亮的光源开关。若需同时开启两种或多种光源,只需同时按下两种或多种光源开关即可。
3、将要检测物品放在台面中间,需要比对两件或两件以上物品的颜色时,应并排摆放在看样台且尽量靠中间位置进行比对。工作时,台面不能放着对工作无关的杂物,以免影响颜色变化。
4、检测完毕,关掉已打开的全部光源灯管开关。下班时间不使用时要将电源关闭,长期不使用时要将电源插头拔出。
5、更换新灯管,灯箱透光玻璃前面有两颗白色帽螺杆,可以把这两颗螺杆旋开,再打开透光玻璃,打开透光玻璃时要轻轻地打开且轻轻地放下。取下需要更换的灯管,再将新灯管装上。注意不同光源,灯管不同位置,不能搞错。
以上就是小编搜集整理的“看样室天花板吊式标准光源箱”全部内容,想了解更多标准光源箱资讯的用户,可以关注我们的后续更新!